|
|
|
|
|
|
|
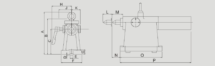
Hydraulic Tailstock(Pneumatic Lock) |
|
|
|
|
 |
| |
|
單位:mm |
|
MODEL |
YH(P)TM-160(-S) |
YH(P)TM-210(-S) |
YH(P)TM-255(-S) |
|
A |
267 |
317 |
394 |
|
B |
225 |
246 |
320 |
|
C |
160 |
210 |
255 |
|
D |
7 |
7 |
7 |
|
E |
18 |
18 |
18 |
|
F |
130 |
146 |
200 |
|
G |
30 |
30 |
30 |
|
H |
125 |
125 |
135 |
|
J |
67.5 |
67.5 |
80 |
|
K |
77.5 |
77.5 |
102 |
|
L |
100 |
100 |
100 |
|
M |
60 |
60 |
87 |
|
N |
45 |
45 |
97 |
|
O |
230 |
230 |
285 |
|
P |
359 |
359 |
482 |
|
|
|
 |
|
|
|